
(Ford)
Ford may have invented the coolest cooler on wheels.
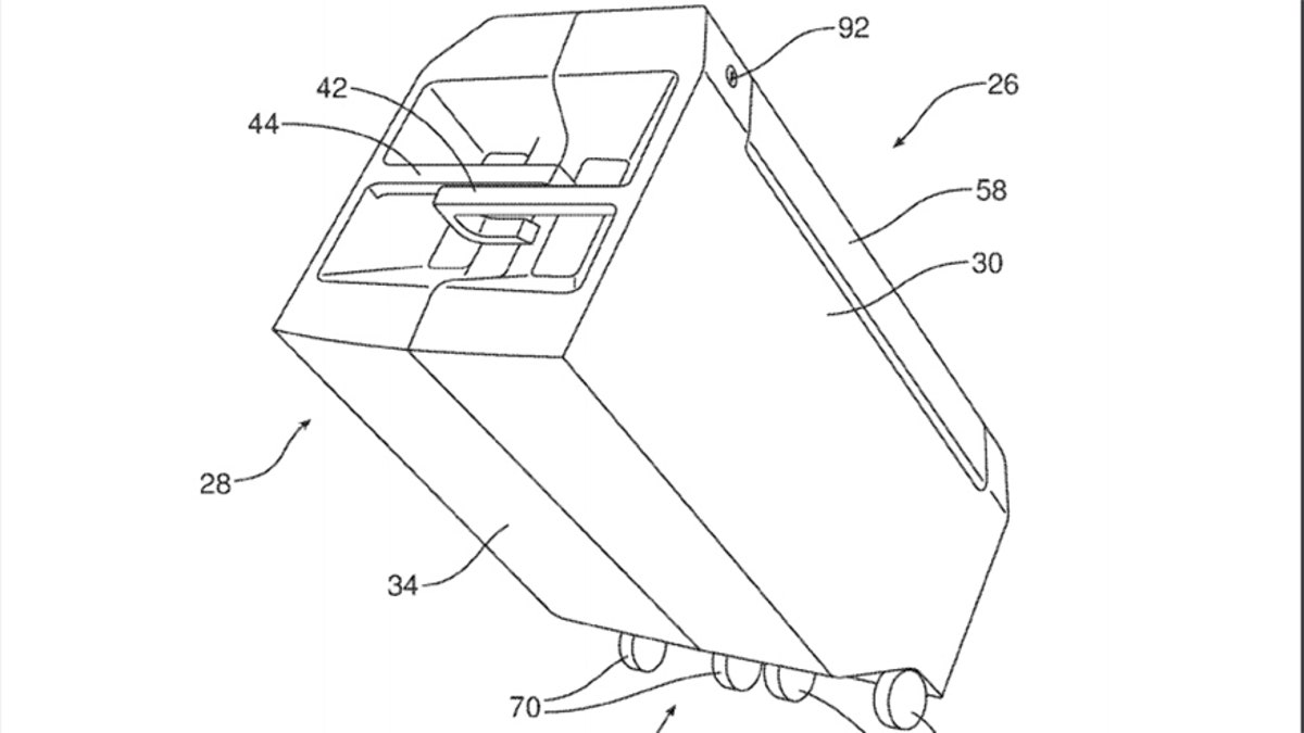
A patent application recently filed by the automaker, and first uncovered by TTAC.com, depicts a storage system for SUVs that uses detachable bins that slip into the sidewalls of a cargo bay.
The application says they solve the problem of having a place to keep small items from rolling around in the vehicle, while also providing lockable compartments for them.

(Ford)
There’s one located on each side of the vehicle. They can slide out like drawers or be completely removed. Built-in wheels and haldes allow them to be transported like rolling luggage, and the two can be attached to make them easier to transport.

(Ford)
A smartphone dock is incorporated in the design that feeds into a passive sound-amplifying channel, and they’re potentially insulated and waterproof, so they can keep food warm or be filled with ice instead.

(Ford)
There’s no telling when or if the feature will show up in a Ford product, if ever, or even any guarantee that a patent on it will be granted, but it’s an interesting idea.
Ford has had a few of those lately, including a bike rack that pops out from the bumper of a Mustang.






































