November 4, 2015 Whoosh! Air race showcases extreme engineering At the Texas Motor Speedway in Forth Worth, Texas, 12 planes are gearing up for a high-flying aerial showdown Saturday (Sept.
November 4, 2015 Google’s Project Wing could lift US drone industry Google’s entry into the drone space with its Project Wing initiative is good news for the broader drone industry, according to an expert in the technology.
November 4, 2015 Sony brings ‘The Last of Us’ video game to the stage Forget Comic-Con, Sony PlayStation is literally bringing a first of its kind fantasy performance to life—on stage. The entertainment giant is staging what’s believed to be the first major live staged reading of a video game by bringing the acclaimed title “The Last of Us” to The Broad Theater in Santa Monica, California
November 4, 2015 Google enhances Explore feature for Maps Never one to rest on its laurels, Google is continuing to roll out updates for Maps in an effort to stave off competition from alternative offerings. The latest, announced Wednesday, includes an enhanced Explore feature for Android and iOS users.
November 4, 2015 Construction starts on anti-submarine drone The military’s ambitious plan to build an anti-submarine drone is taking shape.
November 4, 2015 LG Display unveils 18-inch flexible display that can roll like a map LG Display Co. has shown an 18-inch flexible display that can be rolled into the shape of a thin cylinder.
November 4, 2015 Domino's adding voice ordering option to mobile app Domino's is introducing its own version of Siri.
November 4, 2015 Starbucks putting wireless charging pads in more stores; plans rollout to all locations Soon you may not have to fumble or fight for a power outlet to charge your phone at your neighborhood Starbucks.
November 4, 2015 As smartwatches explode, where are the watchmakers? Between Google Glass, Samsung’s Dick Tracy-like smartwatch, Nike fitness trackers and more, wearable tech is clearly the next big thing -- a $19 billion market, experts say. But where are all the companies that have been creating watches, glasses and the like for generations?
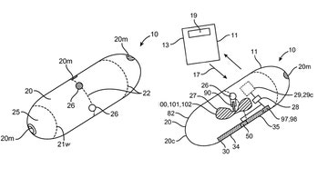
November 4, 2015 Can 'robotic' pills replace injections? The adage "Take two aspirin and call me in the morning" is destined for a futuristic makeover. Doctors may just as easily recommend swallowing sophisticated gadgets instead.